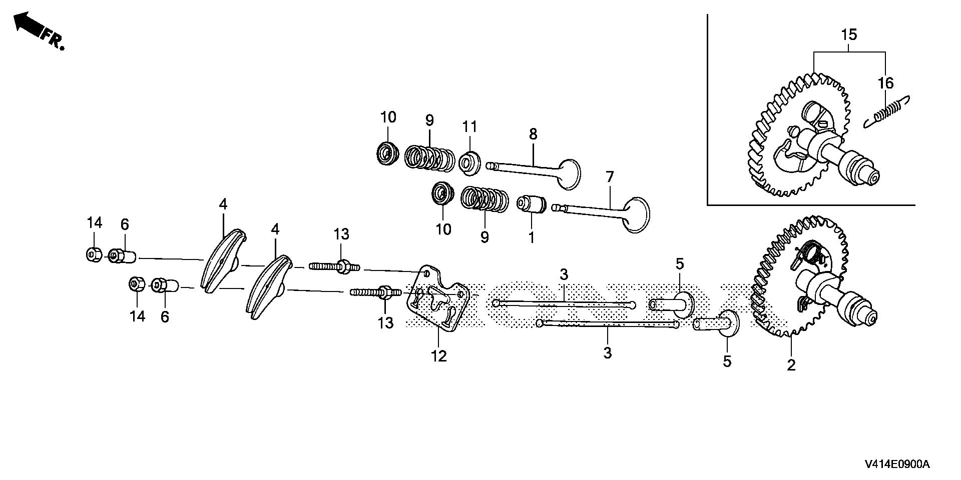
Snow Blowers HSS HSS1332 HSS1332A AT/A SAFA-2000001-9999999 CAMSHAFT - Metro Turf Outdoor Power Equipment, Inc.

Ref No
Part Number
Description
Serial Range
Qty
Price

Ref No
1
Part Number
12209-ZE8-003
Description
SEAL, VALVE STEM
Serial Range
1000001 - 9999999
Qty
Price
$8.42

Ref No
2
Part Number
14100-Z5T-911
Description
CAMSHAFT (STD)
Serial Range
1000001 - 9999999
Qty
Price
$215.12

Ref No
2
Part Number
14100-Z5T-911
Description
CAMSHAFT (STD)
Serial Range
1160375 - 1381377
Qty
Price
$215.12

Ref No
3
Part Number
14410-Z1C-000
Description
ROD, PUSH
Serial Range
1000001 - 9999999
Qty
Price
$7.80

Ref No
4
Part Number
14431-ZE2-010
Description
ARM, VALVE ROCKER
Serial Range
1000001 - 9999999
Qty
Price
$8.92

Ref No
5
Part Number
14441-ZE2-000
Description
LIFTER, VALVE
Serial Range
1000001 - 9999999
Qty
Price
$16.92

Ref No
6
Part Number
14451-Z4M-000
Description
PIVOT, ROCKER ARM
Serial Range
1000001 - 9999999
Qty
Price
$6.16

Ref No
7
Part Number
14711-Z5T-900
Description
VALVE, IN.
Serial Range
1000001 - 9999999
Qty
Price
$8.84

Ref No
8
Part Number
14721-Z5T-900
Description
VALVE, EX.
Serial Range
1000001 - 9999999
Qty
Price
$12.24

Ref No
9
Part Number
14751-Z1C-000
Description
SPRING, VALVE
Serial Range
1000001 - 9999999
Qty
Price
$5.66

Ref No
10
Part Number
14771-Z8S-000
Description
RETAINER, IN. VALVE SPRING
Serial Range
1000001 - 9999999
Qty
Price
$2.28

Ref No
11
Part Number
14775-ZE2-010
Description
SEAT, VALVE SPRING
Serial Range
1000001 - 9999999
Qty
Price
$3.78

Ref No
12
Part Number
14791-Z1D-000
Description
GUIDE, PUSH ROD
Serial Range
1000001 - 9999999
Qty
Price
$0.68

Ref No
13
Part Number
90012-ZE0-010
Description
BOLT, PIVOT (8MM)
Serial Range
1000001 - 9999999
Qty
Price
$8.42

Ref No
14
Part Number
90206-ZE1-000
Description
NUT, PIVOT ADJUSTING
Serial Range
1000001 - 9999999