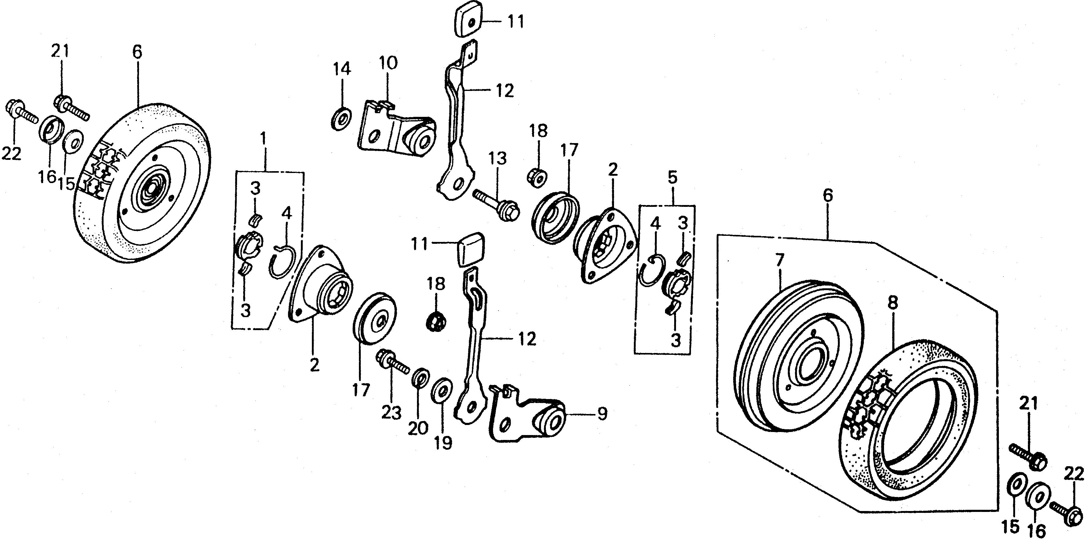
Ref No
Part Number
Description
Serial Range
Qty
Price
Ref No 1
Part Number 23510-963-010
Description HOLDER, R. RATCHET
Serial Range 1000001 - 9999999
Qty
Price $28.12
Add To Cart
Ref No 2
Part Number 23511-963-000
Description RECEIVER, RATCHET
Serial Range 1000001 - 9999999
Qty
Price $20.90
Add To Cart
Ref No 3
Part Number 23513-952-770
Description RATCHET
Serial Range 1000001 - 9999999
Qty
Price $8.08
Add To Cart
Ref No 4
Part Number 23514-963-000
Description SPRING, RATCHET RETURN
Serial Range 1000001 - 9999999
Qty
Price $4.22
Add To Cart
Ref No 5
Part Number 23520-963-010
Description HOLDER, L. RATCHET
Serial Range 1000001 - 9999999
Qty
Price $27.44
Add To Cart
Ref No 6
Part Number 42810-963-000
Description WHEEL (NA USE ALT:06427-960-305)
Serial Range 1000001 - 9999999
Ref No 7
Part Number 42820-963-000
Description WHEEL, RR. (NOT AVAILABLE)
Serial Range 1000001 - 9999999
Qty
Price $45.83
Add To Cart
Ref No 8
Part Number 42861-963-000
Description TIRE (8X1.57)
Serial Range 1000001 - 9999999
Qty
Price $29.64
Add To Cart
Ref No 9
Part Number 42931-963-000
Description ARM, R. RR. ADJUSTING (NOT AVAILABLE)
Serial Range 1000001 - 9999999
Ref No 10
Part Number 42941-963-000
Description ARM, L. RR. ADJUSTING (NOT AVAILABLE)
Serial Range 1000001 - 9999999
Ref No 11
Part Number 42952-952-000
Description GRIP, ADJUSTER
Serial Range 1000001 - 9999999
Qty
Price $5.28
Add To Cart
Ref No 12
Part Number 42962-963-000
Description PLATE, RR. ADJUSTING
Serial Range 1000001 - 9999999
Qty
Price $13.42
Add To Cart
Ref No 13
Part Number 90103-952-000
Description BOLT, RR. ADJUSTING ARM
Serial Range 1000001 - 9999999
Qty
Price $5.32
Add To Cart
Ref No 14
Part Number 90411-706-000
Description WASHER (10MM) (NOT AVAILABLE)
Serial Range 1000001 - 9999999
Ref No 15
Part Number 90455-963-000
Description WASHER, WHEEL (NOT AVAILABLE)
Serial Range 1000001 - 1008013
Ref No 16
Part Number 90535-292-000
Description WASHER, HANDLE CUSHION
Serial Range 1008014 - 9999999
Qty
Price $2.68
Add To Cart
Ref No 17
Part Number 91201-963-003
Description DUST SEAL (NOT AVAILABLE)
Serial Range 1008014 - 9999999
Ref No 18
Part Number 94050-06000
Description NUT, FLANGE (6MM)
Serial Range 1000001 - 9999999
Ref No 19
Part Number 94103-08000
Description WASHER, PLAIN (8MM)
Serial Range 1000001 - 9999999
Ref No 20
Part Number 94111-08000
Description WASHER, SPRING (8MM)
Serial Range 1000001 - 9999999
Qty
Price $1.24
Add To Cart
Ref No 21
Part Number 95701-06012-00
Description BOLT, FLANGE (6X12)
Serial Range 1000001 - 9999999
Qty
Price $2.04
Add To Cart
Ref No 22
Part Number 95701-08012-00
Description BOLT, FLANGE (8X12)
Serial Range 1000001 - 9999999
Ref No 23
Part Number 95700-08016-00
Description BOLT, FLANGE (8X16)
Serial Range 1000001 - 9999999
Ref No 23
Part Number 95701-08016-00
Description BOLT, FLANGE (8X16)
Serial Range 1000001 - 9999999
Qty
Price $2.26
Add To Cart